Данный вид бизнеса был очень популярен во времена перестройки и как-то незаметно и незаслуженно был забыт. В наше время расцвета деятельности различных колдунов и стремления человека узнать больше о состоянии своего здоровья - данный вид "улично-офисного" бизнеса не имеет цены. Конкуренции - никакой!
Производить ничего не надо! Все, что нужно - изготовить простейший аппарат из нескольких деталей (если в электронике вы не сильны - попросите помочь соседа). Все равно, где вы будете практиковать данный вид заработка: на базаре или в госучреждениях - он будет пользоваться неизменным успехом. Одних будет привлекать проверка их экстрасенсорных способностей, других (и этих людей будет основная часть) - желание узнать, сколько же им лет по настоящим "биологическим" часам.
В действительности - никакого мошенничества: прибор предназначен для измерения и оценки электрической составляющей энергии человека, что напрямую связано со знаменитым понятием "биоэнергия". Если на всем пути прохождения энергия не испытывает задержек, организм работает нормально. Если какой-то орган болен, то прохождение энергии нарушается, соответствующая ему активная точка на коже это отражает - изменяется ее температура, плотность, ощущается болезненность. Кроме того, изменяется электрохимический потенциал, электропроводность. Прибор регистрирует эти изменения. Другими словами, человек здоров, когда нормально функционируют его важнейшие жизненные органы. Плотность кровотока (нашего электролита) и движение биоэнергии по каналам прямо пропорционально зависят от способности замкнутой следящей системы мозга поддерживать баланс энергетического поля с состоянием физического тела. Приложив ладони к пластинам описываемого прибора, вы увидите показания, связанные с величиной своей энергии. Если сделать несколько физических упражнений или глубоко подышать (можно дыханием йогов), величина энергии сначала возрастет, а через некоторое время вернется к своему прежнему значению. Как только человек заболевает, ухудшается снабжение организма кислородом, нарушается обмен веществ, и биоэнергия снижается. Прибор дает меньшее показание.
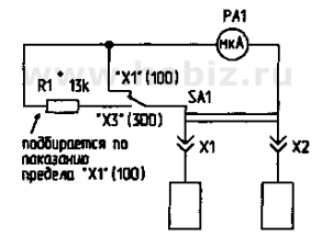
В приборе (рис.1) применена высокочувствительная головка М906 с током полного отклонения 100 мкА. Электрохимический потенциал кожи определяется пластинами из разнородных металлов. Здесь применены цинк (оцинкованное железо) и латунь. Размеры пластин - 130х120 мм, толщина - 0.5...1 мм. Для улучшения контакта с ладонями на пластинах желательно сделать "шипы" (накернить клеточкой в 1 см2). Прибор не требует источников питания, и в этом тоже его достоинство. Измерительные металлические пластины подключаются к прибору шнурами с зажимами типа "крокодил".

Puc.1
Порядок работы. Пластины прибора должны лежать на столе или другой неметаллической поверхности и быть подключены согласно рис.1. Ладони рук нужно плотно прижать к пластинам (рис.2), но не давить, и подержать неподвижно 3...5 с. При этом как ладони, так и пластины не должны замыкаться между собой. Показания прибора будут показаниями вашей энергии. Во время теста состояние рук должно быть естественным (не потные и не мокрые), иначе показания будут неустойчивыми.

Рuc.2
Если показания на пределе "х1" "зашкаливают", т.е. больше 100 единиц, переключите прибор на предел "х3", (шкала 300 единиц) и соответственно показания умножьте на три. Пластины следует периодически протирать спиртом или одеколоном от возможного "засаливания".
Как показывают практика и исследования, возрасту человека соответствуют определенные числа, характеризующие уровень энергии, как показано в таблице.
|
Годы |
Единицы биоэнергии |
|
10 |
80...85 |
|
15 |
75...80 |
|
20 |
70...75 |
|
25 |
65...70 |
|
30 |
60...65 |
|
35 |
55...60 |
|
40 |
50...55 |
|
45 |
45...50 |
|
50 |
40...45 |
|
55 |
35...40 |
|
60 и более |
20...30 |
Здесь 1 мкА условно принят за "единицу" биоэнергии человека.
Биоэнергия снижается:
- у людей, ведущих малоподвижный образ жизни;
- у людей преклонного возраста;
- при переутомлении;
- при приеме алкоголя, курении;
- при недостатке сна и отдыха.
Биоэнергию повышают:
- оптимизм;
- смех и веселье;
- созерцание открытого огня или льющейся воды;
- здоровый образ жизни.
Если показания прибора превышают норму в 2-3 раза и выше, значит у вас есть прекрасные резервы здоровья. Такие показатели наблюдаются и у людей, обладающих экстрасенсорными способностями.
Этот прибор - всего лишь несложный, но действенный индикатор, подсказывающий состояние здоровья и потенциальные резервы энергии организма. Существуют более сложные приборы, измеряющие биоэнергию человека в комплексе - с учетом всех составляющих его биополя, но такие приборы очень дороги и недоступны «простым смертным».
hobiz.ru